Автоматизированные двухступенчатые прогрессивные модуляционные горелки, АГ-ЭКО
Предприятие специализируется на производстве автоматизированных двухступенчатых прогрессивных модуляционных горелок номинальной тепловой мощностью от 850 до 3600 кВт, работающих на газообразном (природный или нефтяной попутный газ) и жидком (товарная нефть, мазут, дизель) топливе. Предназначены для применения в паровых и водогрейных котлах, печей подогрева нефти, парогенераторных установках и других установках. В стандартном исполнении производятся следующие модели:
|
Модель |
Номинальная тепловая мощность, кВт (Мвт) |
Вид топлива |
Тип управления |
|
АГ-ЭКО-85 |
850 (0,85) |
Природный или попутный нефтяной газ, жидкое топливо (товарная нефть, мазут, дизель) |
Автоматизированное |
|
АГ-ЭКО-120 |
1200 (1,2) |
Автоматизированное |
|
|
АГ-ЭКО-150 |
1500 (1,5) |
Автоматизированное |
|
|
АГ-ЭКО-210 |
2100 (2,1) |
Автоматизированное |
|
|
АГ-ЭКО-260 |
2600 (2,6) |
Автоматизированное |
|
|
АГ-ЭКО-360 |
3600 (3,6) |
Автоматизированное |
|
|
АГ-ЭКО-500 |
5000 (5,0) |
Автоматизированное |

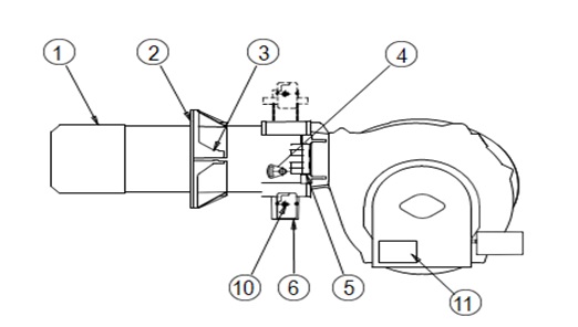
- Головка сгорания
- Прокладка
- Соединительный фланец горелки
- Устройство регулировки головки
- Шарнир
- Соединительный фланец газовой рампы
- Электрический щит
- Двигатель
- Сервопривод регулировки воздуха
- Сервопривод регулировки газа
- Идентификационная табличка горелки